Unsere aktuellen Termine (2026): 13.-14.06.2026; 13.09.2026; 19.09.2026; 10.-11.10.2026
Außerhalb der Veranstaltungen: vom 04.04.2026 bis 24.10.2026 samstags von 10:00-17:00 Uhr.
Weitere Informationen gibt es hier.
13.-14.06.2026: Sommerdampf


-- 31 --

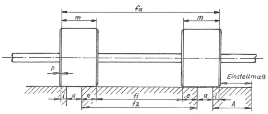
Behelf zum Vermessen der inneren Steuerung


Istmaße in mm


 

Maß links hinten vorn Mitte hinten vorn rechts hinten vorn
m


fi





fa





p





e


f2





A






Dampflokfreunde Salzwedel e.V. Am Bahnhof 6, 19322 Wittenberge